排序
餐饮行业想向儿童要增量,恐怕要失望了
文丨古月 出品丨消费最前线 1979年,广告公司Bernstein-Rein的联合创始人Bob Bernstein(鲍勃·伯恩斯坦)受到大儿子的早餐麦片盒启发,带领团队为麦当劳的儿童套餐设计了一款包装,最著名的ico...
“泄密大帝”彻底栽了,王腾的9年小米路终结
9月8日大半夜,小米集团职业道德委员会发内部通告,认定王腾因“泄露公司机密信息”+“存在利益冲突”等严重违规行为,被给予“辞退”处分。 虽然王腾被定义为中层管理干部,实际上跟高管差不多...
那个坐在马云身边的白衣少年,扛起了阿里云的未来
这是1999年,坐在马云旁边白衣眼镜青年吴泳铭,此时的他刚毕业三年。 (当年的吴泳铭就做在马云旁边,穿白衣服那个) 这是2023年9月“云栖大会”上的吴泳铭,他就站在王坚和蔡崇信的身后,笑的...
2025上半年,中国企业在全球刷出了新副本
8月中旬,传来了两个消息。 一个是北京时间8月16日凌晨,在巴西总统卢拉、副总统阿尔克明、中国驻巴西大使祝青桥的见证下,长城汽车巴西工厂正式竣工投产。 另一个是8月19日,泡泡玛特发布2025...
钉钉的十年忏悔录:从“牛马噩梦”到“打工搭子”
左为钉钉8.0启动画面,下面的植物叫蕨,象征生命系统成型,有点重启钉钉的味道;右边是大家熟悉的微信启动画面。同样都是一个小人,一个是看着雪山,一个是看着地球…… 无招4月份回归,8月份开...
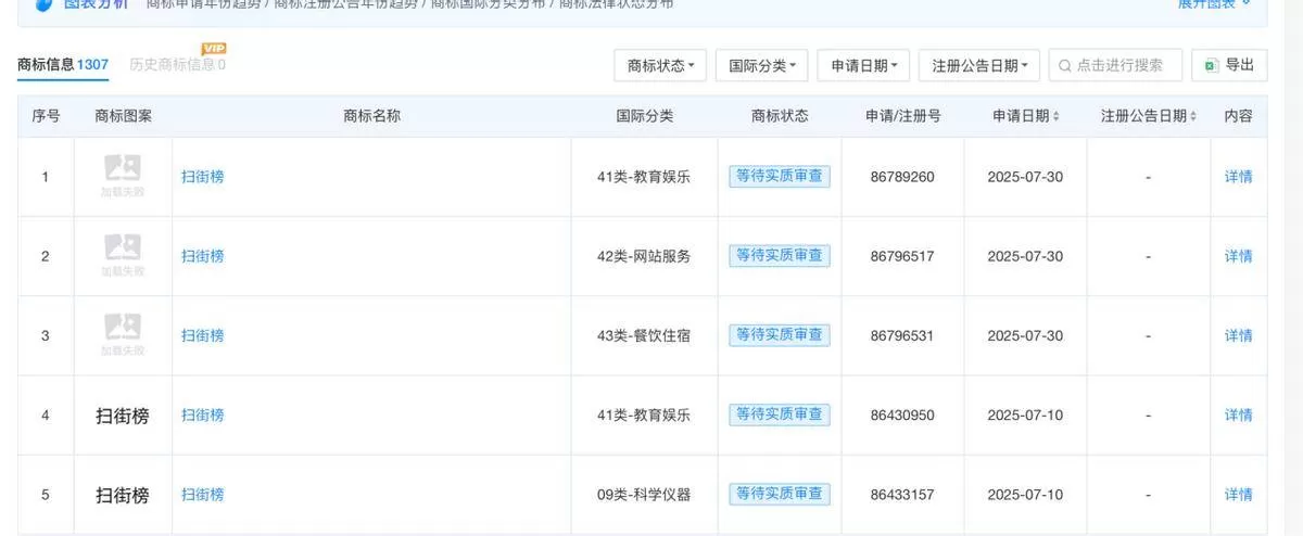
刚‘扫’完街反手丢出10个亿:高德向商家撒币有何深意?
文:互联网江湖 作者:刘致呈 “高德扫街榜”的后续动作来了。 在正式发布“扫街榜”之后,最近高德又发布超10亿补贴促线下消费的“烟火好店计划”、宣布为全国所有餐饮商家免一年入驻年费。 显...
租用日本多IP服务器站群多少钱?2025年价格指南与选择策略
租用日本多IP站群服务器多少钱受配置、IP数量、带宽及服务商策略影响,月租通常介于800元至5000元(约$110-$700),年付可享10%-30%折扣。以下小编将从价格构成、服务商对比到场景适配深度解析...
欧洲服务器ip有什么优势?附选型及实战指南
欧洲服务器ip有什么优势?欧洲服务器IP因其地理位置、合规性及网络基础设施的独特性,成为企业拓展国际市场的重要工具。无论是跨境电商、多语言站群,还是数据合规需求,欧洲IP资源均能提供稳定...
免费linux云服务器是陷阱还是福音?
在云计算普及的今天,免费linux云服务器成为许多个人开发者和小微企业的“试水”选择。然而,这类服务看似诱人,实则暗藏风险与机遇并存。到底是低成本的福音,还是隐形消费的陷阱?答案取决于...
云存储服务器租用的好处有哪些?
随着企业数字化转型加速,云存储服务器租用成为越来越多企业的首选方案。云存储服务器租用的好处在于弹性灵活、成本可控、安全可靠,同时避免了传统服务器的硬件维护负担。以下是云存储服务器租...
















